根据《教育部办公厅等六部门关于做好2021年高职扩招专项工作的通知》(教职成厅函〔2021〕9号)、《广东省教育厅等八部门(单位)关于做好2021年高职扩招工作的通知》(粤教职函〔2021〕28号)等文件精神,为切实做好我省2021年高职扩招专项行动有关工作,现将报名要求及时间安排通知如下:
一、招生类别及报考条件
(一)招生对象
1、2021年高职扩招专项行动招生对象为下岗失业人员、农民工、高素质农民、企业在职员工等,以及符合条件的港澳台考生。
(二)报考条件
1、广东省户籍考生:须上传本人身份证、户口簿、高中阶段(含普通高中、中职、中专、职中、技校,下同)学校毕业证书原件或同等学力证明电子版。
2、港澳台考生:符合条件的港澳考生上传本人香港或澳门居民身份证、《港澳居民来往内地通行证》或《港澳居民居住证》、高中阶段学校毕业证书原件或同等学力证明电子版;符合条件的台湾省籍考生上传本人在台湾居住的有效身份证明、《台湾居民来往内地通行证》或《台湾居民居住证》、高中阶段学校毕业证书原件或同等学力证明电子版。
3、外省户籍在粤工作人员:须上传本人身份证、高中阶段学校毕业证书原件或同等学力证明、本人与企业签订的劳动合同,以及本人累计在粤满一年的参保证明电子版。参保证明时间计算截止日期为2021年8月31日,由考生携带身份证或社会保障卡前往属地社会保险基金管理局办事大厅打印或在广东政务服务网上打印。
注:
(1)外省户籍在粤工作人员参保情况将在考生报名结束后由省社保部门统一复核。对于复核情况不属实的考生,取消高职扩招专项行动报名资格,由此产生的一切后果由考生负责。
(2)学信网在籍学生(含高中、中专、大专、本科等)一律不得报考高职扩招,因未按我校条件报考而无法获得报考资格的责任由考生自负。
二、高职扩招报名及志愿填报
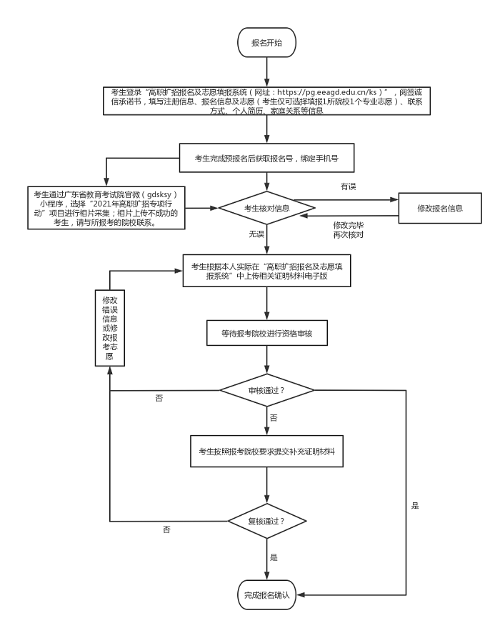
1、考生需登录2021年高职扩招报名及志愿填报系统(网址:https://pg.eeagd.edu.cn/ks,下称“报名及志愿填报系统”),根据系统指引阅签诚信承诺书,填写注册信息、报名信息及志愿信息、联系方式、个人简历、家庭关系等信息,获取报名号、绑定手机号,通过微信小程序采集相片并经核对信息无误后根据实际按照要求上传相关证明材料电子版。
2、按要求进行报名确认、志愿填报以及报考资格审核、复核,报考流程详见附件1。
3、考生仅可填报1所院校1个专业志愿,报名及志愿填报时间为9月22日14:00至9月27日14:00,逾期不再办理相关手续。
三、考核要求
1、采用“文化素质+职业技能”考核方式,主要侧重于职业技能考核。
2、考核于10月9日-10日统一在广东科技学院参加,考生应持本人身份证原件及“粤康码”健康记录准时到校参加考核,具体时间、地点、要求另行通知。“文化素质”及“职业技能”考核满分值合计100分。拟录取考生的考核总成绩不得低于考核满分值的40%。
3、考核结束后,我校于10月14日前在学校招生网站上公示考生考核成绩(网址:http://gkjjy.gdust.cn/)。考生成绩公示3天无异议后,则由排位分数顺序择优录取,
注意:
(1)对于退役军人、下岗失业人员、农民工和高素质农民等,可免文化素质考核,只进行与报考专业相关的职业技能考核。
(2)对于取得相关职业技能等级证书的考生,报考相关专业可免职业技能考核,只进行与报考专业相关的文化素质考核。
(3)取得与所报考的招生院校专业相关的省级(含)以上行政部门主考或授权主考的中级(广东省教育考试院主考的专业技能课程证书为B级)及以上职业资格技能等级证书的考生;曾获得省级(含)以上行政部门主办的职业技能大赛三等奖及以上奖项的考生,经有关高校核实资格、公示无异议后可免试录取。
四、录取时间
录取时间于10月18日进行,2021年高职扩招工作日程安排详见附件2。
五、入学时间
1、2021年高职扩招专项行动录取考生,于2021年11月初入学,须在规定时间内缴交学费及注册。逾期未注册者,取消入学资格。
2、新生入学后,招生院校应对录取新生进行资格复查。复查后发现在报名和考核过程中有弄虚作假或其他违纪违规行为者,将按规定取消其入学资格。
六、学习形式
1、采用在岗培养与学校培养相结合的人才培养模式,实行工学交替等学习形式,采取适合成人、方便就学、灵活多元的教学模式,探索线上与线下混合教学和网上教学,实施学分制管理改革。
2、学生入学后不得转学,不得转专业。
3、通过高职扩招专项行动录取的考生在2021年秋季入学。学生修完教育教学计划规定内容,成绩合格,达到毕业条件和要求的,可获得试点高职院校有关专业普通专科毕业证书。
七、招生专业及收费标准
八、联系方式
联系电话:0769-86211939、86211936、15820953494方老师
学校地址:东莞市南城区广东科技学院北门创业楼502室。
主办官网:http://gkjjy.gdust.cn/
附件:1、广东省2021年高职扩招考生报考流程图
2、2021年高职扩招工作日程安排
附件1
广东省2021年高职扩招考生报考流程图
附件2
2021年高职扩招工作日程安排

